OnSemi NUD4700 - A Thyristor That Protects LED Series Circuits From Diode Failures

Driving high-performance LEDs is best accomplished via a constant-current source in series with a set of LEDs. With the NUD4700, OnSemi protects LED strings from diode failure.
Series circuits are highly efficient: the source must inject the specified current, and each LED automatically operates at its ideal voltage. This becomes interesting when individual LEDs go open circuit, as shown in the figure below.

The series circuit\'s attributes cause this behavior: if one element goes high impedance, no current can flow through the string.
Thyristor-Based Bypass for Increased Efficiency.
The NUD4700, in principle, consists of a thyristor and some control logic. The basic circuit topology is shown in the figure below.

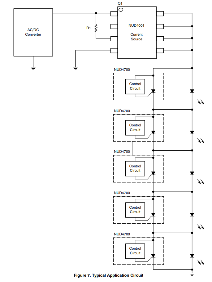
The individual LED chain must be constructed from a series of parallel circuits, each containing the actual light-emitting diode and one of the protective elements. A schematic of the NUD4001 constant-current LED driver deployment is shown in the figure below.

Should one of the LEDs burn out, the NUD4700's control circuit assesses this condition and automatically activates the thyristor. It then acts as a bypass, ensuring that current can flow through the rest of the chain. The current source reduces the voltage supplied, and the LED string keeps operating just as it was intended by the circuit designer.
Highly Efficient Component
ON Semiconductor intents the NUD4700 to be used with 1 W LEDs, and expects the current to be around 350 mA while the actual voltage of the individual diode is expected to be around 3 V. When activated, the on-state voltage of the NUD4700 usually is around 1V, while the off-state current of less than 250 uA means that the consumption of the application is not affected by the addition of these protective components.
According to the data sheet, breakdown voltage ranges between 5.5 and 7.5 V. This means that the amount of headroom to be planned into the current source is not significant - adding an amount of headroom is beneficial anyway, as LED voltages can and do change both due to aging of the semiconductor material and due to the ambient temperature.
Flexible Packaging Options for Design-Sensitive or Automotive Circuits
OnSemi provides the NUD4700 in white and black housings. The black version can be procured via SKU NUD4700SNT1G or SZNUD4700SNT1G. For the black SZ version, OnSemiconductor furthermore provides a variety of automotive support guarantees, such as the ones listed below:
SZ Prefix (black package only) for Automotive and Other
Applications Requiring Unique Site and Control Change
Requirements; AEC−Q101 Qualified and PPAP Capable
The use of the PowerMite case shown in the figure below ensures simple soldiering in both manual and automated processes. Thanks to the electrodes' exposedness, solder pads can be easily inspected optically.

Conclusion
Having a luminaire fail due to an individual LED going open circuit is wasteful from both the customer experience and economic viewpoints. Deploying the NUD4700 incurs minimal costs while exponentially extending the LED system\'s lifetime. Thanks to this, any series circuit of LEDs can be deployed without reliability issues. Due to this, this is a component that everybody should use - both for reliability and for the planet, as the disposal of perfectly good optoelectronics is wasteful.